Mô tả
Van cổng Shinyi GRHX
Trong hệ thống kiểm soát lưu chất hạ tầng, van cổng Shinyi GRHX là giải pháp kỹ thuật tiêu chuẩn thuộc hệ van công nghiệp hiện đại. Với xuất xứ từ Việt Nam, sản phẩm đảm bảo khả năng vận hành bền bỉ cho các môi trường nước nhờ thiết kế lá van bọc cao su kín khít tuyệt đối.
Sản phẩm nổi bật với cấu trúc thân van chắc chắn, được thiết kế để chịu được các tác động vật lý và áp suất làm việc đa dạng từ PN10 đến PN25. Đây là thiết bị chiến lược cho các đường ống dẫn nước trong hạ tầng kỹ thuật của khu công nghiệp, khu chế xuất và các tòa nhà cao tầng hiện nay.
Mặc dù được định vị chuyên sâu trong hệ van công nghiệp, GRHX đóng vai trò chủ chốt trong các hệ thống van PCCC chuyên dụng. Nhờ thiết kế ty nổi giúp dễ dàng nhận biết trạng thái đóng mở, thiết bị đáp ứng hoàn hảo các tiêu chuẩn an toàn khắt khe của hệ thống phòng cháy chữa cháy.
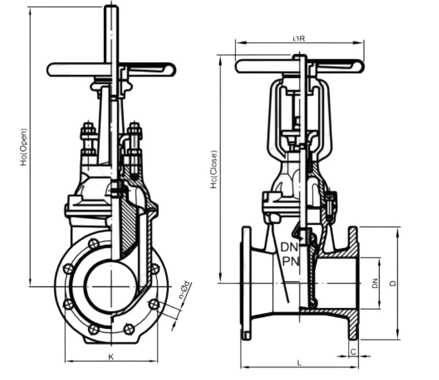
Cấu tạo ty nổi GRHX
Van cổng Shinyi GRHX được chế tác từ vật liệu gang cầu ASTM A536/EN GJS 500-7 tiêu chuẩn quốc tế, giúp chống lại sự va đập và áp lực lớn từ dòng chảy. Trục van bằng thép không gỉ AISI 410/304 được gia công với độ chính xác cơ khí cao, đảm bảo hành trình đóng mở dứt khoát và chống ăn mòn.
Hệ thống làm kín sử dụng lá van bằng gang cầu bọc cao su EPDM (ASTM A536 + EPDM) bền bỉ, giúp ngăn chặn rò rỉ lưu chất và bảo vệ bề mặt làm việc. Tay quay vô lăng bằng thép carbon hoặc gang cầu được thiết kế chắc chắn, phủ sơn bảo vệ đạt chuẩn, giúp người vận hành thao tác nhẹ nhàng.
Thiết kế ty nổi giúp tách biệt phần ren trục van ra khỏi dòng lưu chất, ngăn ngừa hiện tượng rỉ sét và kẹt van sau thời gian dài sử dụng liên tục. Sự kết hợp giữa vật liệu gang cầu và cơ chế lá van bọc cao su giúp thiết bị duy trì được độ kín vượt trội ngay cả khi áp suất dòng chảy biến động.
- Thân và nắp van: Gang cầu ASTM A536/EN GJS 500-7 chịu áp lực và va đập cực tốt.
- Lá van: Gang cầu bọc cao su EPDM đảm bảo độ kín khít 100%.
- Trục van: Thép không gỉ AISI 410/304 chống ăn mòn hóa học vượt trội.
- Tay quay: Thép Carbon hoặc gang cầu thiết kế vô lăng trợ lực hiệu quả.
Kích cỡ DN50 đến DN600
Dòng GRHX cung cấp dải kích thước tiêu chuẩn từ DN50 đến DN600, đáp ứng mọi quy mô đường ống từ dân dụng đến công nghiệp nặng. Các thông số kỹ thuật được tính toán đồng bộ, cho phép lắp đặt thay thế nhanh chóng vào các hệ thống van công nghiệp hiện hữu.
Thiết bị sử dụng kiểu kết nối mặt bích linh hoạt, tương ứng với các mức áp suất PN10, PN16 và PN25 tùy theo yêu cầu kỹ thuật của dự án. Việc tuân thủ chính xác các thông số chiều dài L và chiều cao khi mở (Ho) giúp tối ưu hóa không gian lắp đặt tại các vị trí hầm kỹ thuật.
Mỗi kích thước đều được kiểm tra độ bền của gang và khả năng chịu áp lực thủy tĩnh trước khi xuất xưởng để đảm bảo an toàn tuyệt đối. Đây là ưu điểm giúp dòng van Shinyi luôn giữ vững vị thế trong các bản vẽ thiết kế cơ điện và hạ tầng tại Việt Nam.
| Kích cỡ (DN) | Model | Chiều dài L (mm) | Chiều cao mở Ho (mm) |
|---|---|---|---|
| DN50 – DN100 | GRHX-0050 đến 0100 | 178 – 229 | 362 – 546 |
| DN200 – DN300 | GRHX-0200 đến 0300 | 292 – 356 | 946 – 1335 |
| DN450 – DN600 | GRHX-0450 đến 0600 | 432 – 508 | 1990 – 2580 |
Ứng dụng công nghiệp thực tế
Model GRHX ứng dụng cực kỳ hiệu quả trong các hệ thống cấp nước sạch đô thị, mạng lưới thoát nước và xử lý nước thải công nghiệp. Khả năng chống oxy hóa của vật liệu gang cầu và cao su EPDM giúp thiết bị duy trì tuổi thọ lâu dài trong môi trường nóng ẩm.
Trong lĩnh vực van PCCC, sản phẩm thường xuyên được trang bị cho các trạm bơm chữa cháy và các trục cấp nước cứu hỏa chính của tòa nhà. Thiết kế ty nổi giúp đội ngũ vận hành xác định tức thời trạng thái van, đảm bảo an toàn tuyệt đối khi có sự cố cháy nổ xảy ra.
Bên cạnh đó, van còn được dùng trong các trạm bơm thủy lợi hoặc các hệ thống dẫn nước công nghiệp yêu cầu lưu lượng lớn và sụt áp thấp. Sự linh hoạt trong vận hành và độ kín của lá van bọc cao su giúp thiết bị này luôn giữ được áp lực ổn định cho hạ tầng phía sau.
Tiêu chuẩn độ tin cậy
Mọi sản phẩm Shinyi GRHX đều phải trải qua quy trình kiểm tra áp lực khắt khe theo các tiêu chuẩn quốc tế để đảm bảo không rò rỉ tại nắp và thân van. Tiêu chuẩn mặt bích chính xác giúp các mối nối luôn vững chắc, không bị hiện tượng rung lắc hay rò rỉ dưới áp suất cao.
Vật liệu gang cầu và thép không gỉ của Shinyi đạt các chứng chỉ về an toàn cơ khí, không gây ảnh hưởng đến chất lượng lưu chất trong đường ống. Đây là minh chứng cho sự chuyên nghiệp của thương hiệu Shinyi trong việc cung cấp các giải pháp van công nghiệp bền vững tại thị trường nội địa.
Lòng van được thiết kế trơn nhẵn, giúp dòng chảy lưu thông mượt mà và giảm thiểu sự tích tụ mảng bám hay vi khuẩn lâu ngày. Thiết kế này cũng giúp việc bảo trì định kỳ trở nên đơn giản hơn, kéo dài thời gian hoạt động ổn định cho toàn bộ hệ thống đường ống.
- Tiêu chuẩn vật liệu: Tuân thủ ASTM A536 và EN GJS 500-7 cho các bộ phận đúc.
- Kiểm soát chất lượng: Thử nghiệm áp lực đầy đủ cho các mức PN10/16/25.
- Độ bền: Sử dụng cao su EPDM và thép không gỉ AISI 304/316/410 chống mài mòn.
Lắp đặt đúng kỹ thuật
Khi tiến hành lắp đặt van Shinyi GRHX, kỹ thuật viên cần chú ý vệ sinh bề mặt bích sạch sẽ và sử dụng gioăng đệm mặt bích phù hợp. Việc siết bu lông đối xứng và đúng lực sẽ giúp mối nối bích luôn kín khít tuyệt đối dưới tác động của áp suất và búa nước.
Nên thực hiện thao tác đóng mở kiểm tra định kỳ 6 tháng một lần để đảm bảo trục van và lá van luôn trong trạng thái vận hành trơn tru nhất. Việc lắp đặt van ở vị trí thoáng, dễ tiếp cận sẽ giúp công tác bảo trì hệ thống van công nghiệp và PCCC trở nên nhanh chóng và hiệu quả.
Sử dụng van cổng Shinyi GRHX chính hãng với đầy đủ chứng chỉ chất lượng là cam kết cao nhất cho sự an toàn của dự án cơ điện. Sản phẩm không chỉ là thiết bị đóng ngắt mà còn là thành phần bảo vệ độ bền vững cho toàn bộ mạng lưới đường ống công nghiệp Việt Nam.


