Mô tả
Tổng quan Kitz 150SCOS
Van 1 chiều gang Kitz 150SCOS là dòng van lá lật (Swing Check Valve) tiêu chuẩn Class 150 thuộc Hệ Van Công Nghiệp nặng. Thiết bị được chế tạo từ thép đúc ASTM A216 Gr.WCB, cho phép vận hành bền bỉ trong các hệ thống đòi hỏi khả năng chịu áp lực và nhiệt độ cao vượt trội. Với thiết kế nắp bắt bulông (Bolted cover), sản phẩm đảm bảo độ kín khít tuyệt đối và khả năng ngăn chặn dòng chảy ngược hiệu quả để bảo vệ máy bơm và đường ống dẫn.
Khác với các dòng van gang thông thường, 150SCOS sử dụng vật liệu thép đúc chất lượng cao, giúp thiết bị kháng lại sự biến dạng dưới tác động của ứng suất cơ học lớn. Kết nối mặt bích RF (RF-flanged ends) giúp van dễ dàng tích hợp vào các hạ tầng đường ống dầu khí, hóa dầu và nhiệt điện áp suất cao. Trong Hệ Van Công Nghiệp, mã 150SCOS được coi là tiêu chuẩn vàng cho các ứng dụng yêu cầu sự an toàn khắt khe và chu kỳ vận hành liên tục dài hạn.
Sản phẩm được trang bị bộ phận làm kín (Trim) bằng thép không gỉ 13Cr, giúp chống lại sự mài mòn hóa lý của lưu chất tốc độ cao. Đĩa van và ghế van được gia công chính xác, đạt độ kín khít cơ khí hoàn hảo ngay cả trong môi trường hơi nóng bão hòa hoặc khí nén áp lực lớn. Đây là dòng van thép chuyên dụng, kết hợp giữa công nghệ đúc tiên tiến của Kitz Nhật Bản và độ bền vật liệu đạt chuẩn ASTM Hoa Kỳ.
Cấu tạo vật liệu
Hệ thống vật liệu của Kitz 150SCOS được thiết kế để chịu được các cú sốc nhiệt và môi trường lưu chất xâm thực mạnh. Sự kết hợp giữa thân thép đúc A216 WCB và đĩa van 13Cr giúp thiết bị có tuổi thọ vượt trội, giảm thiểu tối đa tình trạng rò rỉ qua ghế van. Đặc biệt, bề mặt ghế van (Body seat ring) được xử lý Hard facing bằng hợp kim Co-Cr-W để tăng cường khả năng chống mài mòn.
| Bộ phận chi tiết | Vật liệu (Material) | Tiêu chuẩn ASTM |
|---|---|---|
| Thân / Nắp (Body/Cover) | Thép đúc (Carbon Steel) | ASTM A216 Gr.WCB |
| Đĩa van (Disc) | Thép 13Cr / Carbon Steel + 13Cr | Tiêu chuẩn Kitz |
| Trục Pin (Hinge Pin) | Thép không gỉ (Inox) | ASTM A479 Gr.410 |
| Bulông nắp (Cover bolt/nut) | Thép hợp kim / Thép carbon | A193 Gr.B7 / A194 Gr.2H |
Dải kích thước
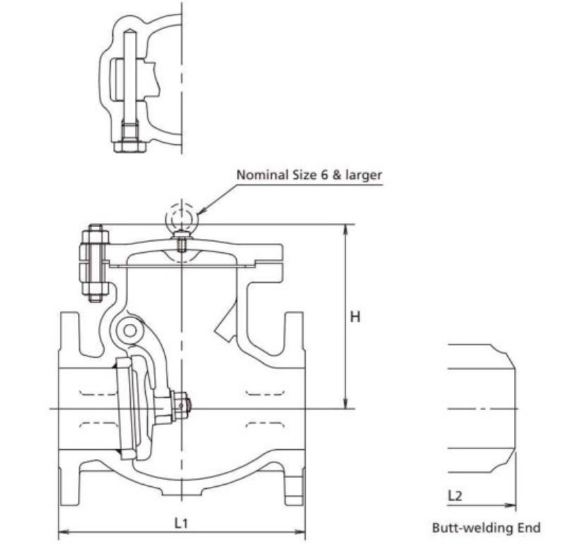
Dòng van Kitz 150SCOS sở hữu dải kích thước cực kỳ rộng lớn, trải dài từ DN40 (1.1/2″) lên đến DN750 (30″), đáp ứng mọi nhu cầu từ đường ống nhánh đến các trục chính khổng lồ. Sự phong phú về kích thước giúp Hệ Van Công Nghiệp triển khai đồng bộ cho các nhà máy lọc dầu và trạm phát điện quy mô quốc tế. Chiều dài Face-to-Face tuân thủ tiêu chuẩn ASME B16.10 Class 150, đảm bảo tính tương thích tuyệt đối khi thay thế vào các hệ thống hiện hữu.
Mỗi model trong dải sản phẩm đều có độ dày thành van đạt chuẩn ASME B16.34, đảm bảo an toàn cơ lý tính tối đa khi vận hành ở áp suất Class 150. Việc chuẩn hóa dải kích thước lên đến DN750 giúp các đơn vị thiết kế dễ dàng bóc tách vật tư cho các dự án hạ tầng trọng điểm quốc gia. Dưới đây là bảng thông số kích thước tiêu biểu (chiều dài L1 và chiều cao H) của dòng 150SCOS:
| Size (DN) | Size (Inch) | L1 (mm) | H (mm) |
|---|---|---|---|
| DN50 – DN100 | 2″ – 4″ | 203 – 292 | 156 – 210 |
| DN150 – DN300 | 6″ – 12″ | 356 – 698 | 250 – 375 |
| DN450 – DN750 | 18″ – 30″ | 978 – 1524 | 508 – 871 |
Ưu điểm vận hành
Kitz 150SCOS được thiết kế để vận hành trong dải nhiệt độ rộng, đáp ứng tốt cho các hệ thống hơi nóng bão hòa và dầu truyền nhiệt. Cơ chế cánh lật (Swing type) giúp lưu lượng đi qua van lớn, tổn thất áp suất thấp hơn nhiều so với các dòng van nâng cùng kích cỡ. Đây là giải pháp ngăn dòng ngược mạnh mẽ và tin cậy bậc nhất trong Hệ Van Công Nghiệp hiện nay.
- Thân thép đúc A216 WCB chịu được ứng suất kéo và va đập cực tốt, ngăn ngừa nứt vỡ hệ thống.
- Bề mặt ghế van được làm cứng bằng hợp kim Co-Cr-W, duy trì độ kín khít ngay cả sau hàng ngàn chu kỳ vận hành.
- Thiết kế Bolted cover cho phép tháo nắp để bảo trì đĩa van tại chỗ mà không cần cắt rời thân van khỏi ống.
Thiết kế cánh lật linh hoạt giúp van đóng mở nhạy bén theo áp lực dòng chảy, triệt tiêu hiện tượng búa nước hiệu quả. Khả năng chống rò rỉ qua trục pin và gioăng nắp đạt tiêu chuẩn cao nhất, giúp doanh nghiệp tiết kiệm năng lượng và lưu chất quý giá. Kitz 150SCOS mang lại giá trị vận hành lâu dài, khẳng định chất lượng Nhật Bản trong từng chi tiết gia công tinh xảo.
Lưu ý kỹ thuật
Để Hệ Van Công Nghiệp hoạt động bền bỉ, van lá lật thép 150SCOS nên được ưu tiên lắp đặt trên các đoạn ống nằm ngang. Trong trường hợp lắp đứng, hướng dòng chảy bắt buộc phải đi từ dưới lên trên để trọng lực hỗ trợ đóng lá van khi ngắt dòng lưu chất. Tuyệt đối không lắp hướng dòng chảy từ trên xuống vì cánh lật sẽ luôn ở trạng thái mở, làm mất hoàn toàn chức năng bảo vệ của thiết bị.
Kỹ thuật viên cần chú ý hướng mũi tên đúc nổi trên thân van để thi công đúng chiều vận hành của hệ thống. Sử dụng gioăng mặt bích phù hợp (như gioăng thép xoắn Spiral Wound Gasket) để đảm bảo độ kín khít tuyệt đối cho kết nối mặt bích RF. Cần sục rửa sạch đường ống trước khi lắp đặt nhằm tránh các dị vật cứng làm trầy xước bề mặt ghế van được xử lý cứng.
Định kỳ kiểm tra trạng thái của đĩa van và trục pin, đặc biệt là với dải kích thước lớn từ DN300 trở lên. Tuân thủ đúng biểu đồ áp suất – nhiệt độ theo tiêu chuẩn ASME để đảm bảo an toàn tuyệt đối cho người và thiết bị vận hành. Sự tỉ mỉ trong khâu lắp đặt và bảo trì chính là yếu tố quyết định tuổi thọ và hiệu suất bảo vệ của cả Hệ Van Công Nghiệp.
Ứng dụng thực tế
Kitz 150SCOS là lựa chọn hàng đầu cho các hệ thống lò hơi công suất lớn, đường ống dẫn dầu thô và khí gas. Sản phẩm đóng vai trò chốt chặn an toàn tại đầu ra của các máy bơm cao áp, ngăn dòng ngược dội về gây hư hỏng thiết bị quay. Trong các nhà máy xử lý hóa chất và nhiệt điện, van đảm bảo hướng dòng chảy ổn định theo đúng quy trình công nghệ nghiêm ngặt.
Với chất lượng thép đúc Nhật Bản và dải kích thước lên đến DN750, dòng 150SCOS luôn được các nhà thầu M&E quốc tế ưu tiên. Khả năng vận hành bền bỉ giúp doanh nghiệp tối ưu chi phí hạ tầng và nâng cao tính an toàn cho quy trình sản xuất quy mô lớn. Minh Hòa cam kết mang lại giải pháp Hệ Van Công Nghiệp chất lượng cao, đồng hành cùng sự vững chắc của mọi công trình hạ tầng.





